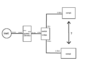
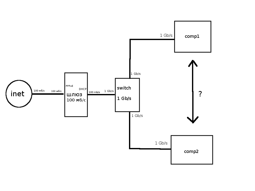
В общем, дано: 1) внешний канал, который подключен к шлюзу (неважно, комп или роутер, суть в том, что у шлюза порты 100 мб/с, внешний канал подключен через PPPoE, на внутреннюю сетку раздаётся DHCP). 2) Гигабитный свитч, который разделяет выход шлюза. 3) 2 компа с гигабитными портами.
Внимание, вопрос: какая скорость будет между двумя компами, 100 мб/с или 1 Гб/с? И почему?
Показать текст сообщения полностью
Внимание, вопрос: какая скорость будет между двумя компами, 100 мб/с или 1 Гб/с? И почему?

Ибо есть комп со 100-мбитными сетевухами и есть роутер с такой же скоростью. Ежели выделят деньги - купим гигабитный роутер Mikrotik, если не выделят - будем плясать от того, что есть. Да и компов в реалии не 2, а 5. Эт я упрощённо нарисовал.
Что лучше: круглосуточная работа 300 Вт или 10 Вт?